德约一度救回4个盘点!阿卡6-3德约拿下第3盘,大比分2-1领先
输掉第二盘后,德约背着包短暂返回更衣室 现场将顶棚关闭了
也是2度破发!阿尔卡拉斯6-2扳回一城,大比分1-1德约科维奇
德约大满贯决赛先下一盘情况下16胜4负,上次被逆转是温网对阿卡
2度破发!德约科维奇6-2先下一城,大比分1-0领先阿尔卡拉斯!
6小时大战!纳达尔:12年澳网决赛虽然我输了 但那是很美好的回忆

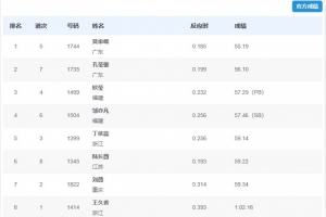
体育资讯11月17日讯 全运会田径女子400米栏决赛,莫家蝶以55秒19的成绩夺得金牌,孔莹蓥获得银牌,欧莹获得铜牌。
女子400米栏决赛成绩详情如下:
1 莫家蝶 55.19
2 孔莹蓥 56.10
3 欧莹 57.29(PB)
4 邹亦凡 57.46(SB)
5 丁依蕊 59.14
6 陆长薇 59.22
7 刘薇 59.34
8 王久香 1:02.16